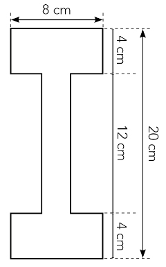
The H 20 wood formwork beam is a 20 cm high solid-web beam with a resistant protective cap system.
The sturdy plastic cap prevents premature splintering at the exposed ends.
The 3-layer spruce wood construction, guarantees an above-average service life.
| Technical information | |
| Beam height: | 20 cm |
| Permissible transverse force: | 11,0 kN |
| Permissible supporting force: | 22 kN |
|
Permissible bending moment: |
5,0 kNm
|
| Specific weight: | 4,6 kg/m |
| Height of flanges: | 4 cm |


